Instruction Execution Timing

The AVR CPU is clocked by the CPU clock: CLK_CPU. No internal clock division is applied. The figure below shows the parallel instruction fetches and instruction executions enabled by the Harvard architecture and the fast-access register file concept. This is the basic pipelining concept enabling up to 1 MIPS/MHz performance with high efficiency.

Figure 1. The Parallel Instruction Fetches and Instruction Executions

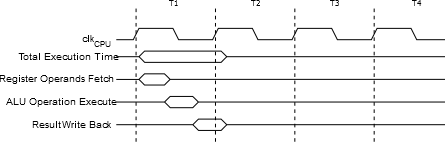
The following figure shows the internal timing concept for the register file. In a single clock cycle, an ALU operation using two register operands is executed and the result is stored in the destination register.

Figure 2. Single Cycle ALU Operation