TWI Master Operation

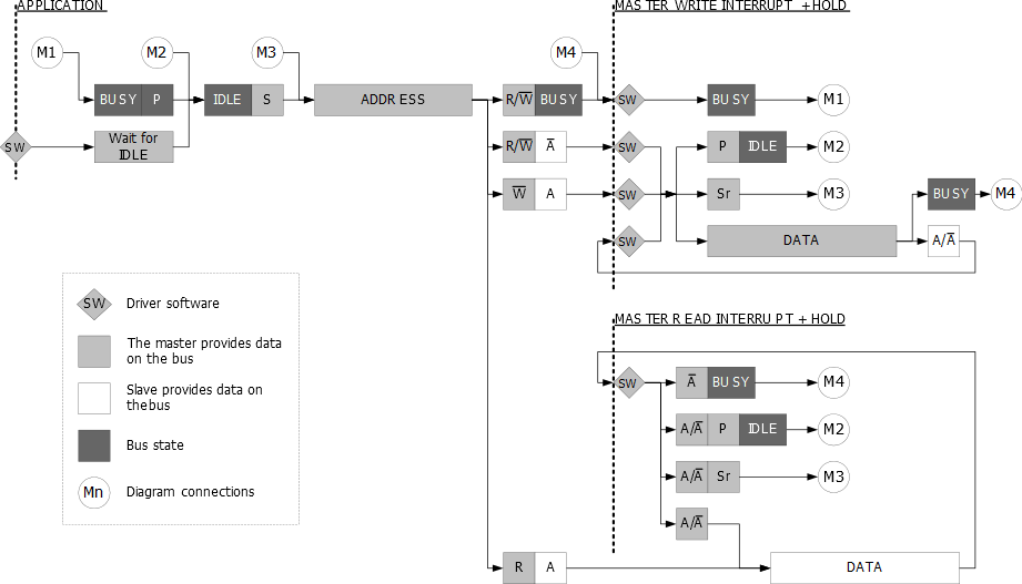
The TWI master is byte-oriented, with an optional interrupt after each byte. There are separate interrupt flags for master write and master read. Interrupt flags can also be used for polled operation. There are dedicated status flags for indicating ACK/NACK received, bus error, arbitration lost, clock hold, and bus state.

When an interrupt flag is set, the SCL line is forced low. This will give the master time to respond or handle any data, and will in most cases require software interaction. Figure 1 shows the TWI master operation. The diamond-shaped symbols (SW) indicate where software interaction is required. Clearing the interrupt flags releases the SCL line.

Figure 1. TWI Master Operation

The number of interrupts generated is kept to a minimum by an automatic handling of most conditions.